Skip to content
HELENTRONICA
Electronics, Physics and Rock 'n' Roll
Home
About
CV
Publications
Portfolio
Blog
Contact me!
Previous Image
Next Image
dimensions
Leave a comment
Cancel reply
Δ
Post navigation
Published in
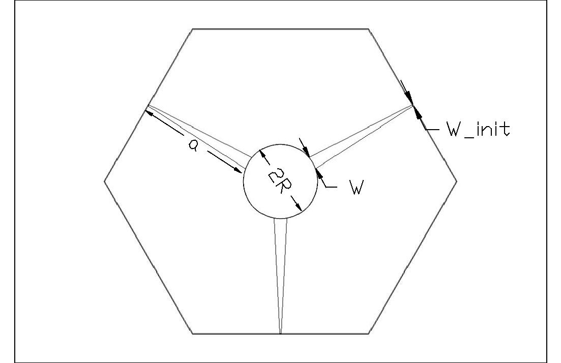
Building a Circulator out of Ceramics
Menu
Home
About
CV
Publications
Portfolio
Blog
Contact me!
Comment
Subscribe
Subscribed
HELENTRONICA
Join 48 other subscribers
Sign me up
Already have a WordPress.com account?
Log in now.
HELENTRONICA
Subscribe
Subscribed
Sign up
Log in
Copy shortlink
Report this content
View post in Reader
Manage subscriptions
Collapse this bar